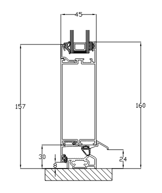
MB-45
Sistema skirta vidiniam įmontavimui
MB-45
Šioje sistemoje pagamintos aliuminio durys dėl jos konstrukcijai naudojamų vienos kameros profilių be šiluminio tarpiklio, pirmiausia rekomenduojamos pastatų viduje, t.y. vietose, kur nereikia didelių šilumos izoliacijos verčių, pvz. atliekant pertvaras, prieangius, vitrinas, pinigų stalus ar spinteles.


Aliuminio durų spalvos


Durų konstrukcijos























Stiklai
Papildomos galimybės


Durų rankenos ir turėklai
Palyginkite produktus
| Informacijos | MB-45 | MB-70 | MB-70HI | MB-86N SI |
|---|---|---|---|---|
| Kamerų skaičius | 1 | 3 | 3 | 3 |
| Apkalos gylis | 45 mm | 70 mm | 70 mm | 77 mm |
| Sandariklių skaičius | 2 | 2 | 2 | 2 |
| Šilumos pralaidumas | — | Uw = 1,3 W/(m2K)* | Ud = 1,2 W/(m2K)* | Ud = 0,83 W/(m2K)* |
| Užpildai, kurių storis | 6-24,5 mm stiklas | 14,5- 53,5 mm stiklas, įdėjimo skydelis 36 mm | 14,5- 53,5 mm stiklas, įdėjimo skydelis 36 mm | 15-60 mm stiklas, įdėjimo skydelis 36 mm, dengiamasis užpildas 36 mm |



















































MB-45
MB-70
MB-70HI
MB-86N SI






